当前位置: 首页 >数字化交易

ZL202223413448.5 一种基于电子信息技术的标签检测设备

名称 一种基于电子信息技术的标签检测设备 编号 CN219729531U
挂牌价 面议 发布方 陕西融盛知识产权平台有限公司
挂牌公告期 2024-03-09 00:00:00 - 2024-04-07 23:59:59
一、详细介绍

技术信息登记表

技术名称 ZL202223413448.5 一种基于电子信息技术的标签检测设备
行业分类 实用性技术
战略性新兴产业分类 新一代信息技术产业
应用于行业
二、附件资料
著录项
申请号CN202223413448.5
 
公开号CN219729531U
 
申请(专利权)人西安汽车职业大学
 
主分类号B65G43/08
 
地址710000 陕西省西安市临潼区秦王一路1号
 
代理机构西安百鼎知识产权代理事务所(普通合伙)
申请日2022-12-19
 
公开日2023-09-22
 
发明人雒晓凤; 金宜南; 刘振华; 刘星星; 毛瑞
 
分类号B65G43/08; B65G43/00; B65G47/42; G06K7/10; G06K7/00
 
国省代码CN61
 
代理人黄照
摘要
本实用新型提供一种基于电子信息技术的标签检测设备,包括:操作台,操作台的表面安装有安装罩,安装罩内壁的顶部固定安装有扫描仪主体,活动组件设置于操作台的表面且位于安装罩的内部,活动组件包括两个滑杆,两个滑杆表面的中心位置均连接有分隔块,滑杆的表面且位于分隔块的两侧均套设有滑套,滑套的表面通过连接块连接有活动板,推动装置设置于分隔块的一侧,连通孔开设于操作台的表面,本实用新型提供的一种基于电子信息技术的标签检测设备,在操作台的表面设置带动滑套的滑杆配合活动板和带有自动控制开关的液压伸缩杆使用能够在扫描仪主体对物品上的标签无法扫描时能将物品直接输送至收集箱的内部进行后期的处理。
权利要求书

1.一种基于电子信息技术的标签检测设备,其特征在于,包括:操作台,所述操作台的表面安装有安装罩,所述安装罩内壁的顶部固定安装有扫描仪主体;活动组件,所述活动组件设置于所述操作台的表面且位于所述安装罩的内部,所述活动组件包括两个滑杆,两个所述滑杆表面的中心位置均连接有分隔块,所述滑杆的表面且位于所述分隔块的两侧均套设有滑套,所述滑套的表面通过连接块连接有活动板;推动装置,所述推动装置设置于所述分隔块的一侧;连通孔,所述连通孔开设于所述操作台的表面,所述操作台的底部且位于所述操作台的下方设置有收集箱。

2.根据权利要求1所述的基于电子信息技术的标签检测设备,其特征在于,所述推动装置包括固定扣,所述固定扣的内部设置有液压伸缩杆,所述固定扣的表面安装有自动控制开关。

3.根据权利要求1所述的基于电子信息技术的标签检测设备,其特征在于,所述扫描仪主体表面的一侧安装有控制器。

4.根据权利要求1所述的基于电子信息技术的标签检测设备,其特征在于,所述操作台的底部且位于所述连通孔的两侧均连接有导板。

5.根据权利要求1所述的基于电子信息技术的标签检测设备,其特征在于,所述安装罩表面的两侧均开设有与所述活动板相适配的活动孔。

6.根据权利要求1所述的基于电子信息技术的标签检测设备,其特征在于,所述收集箱的表面设置有翻转组件,所述翻转组件包括转动件,所述转动件的一侧连接有翻转板。

7.根据权利要求6所述的基于电子信息技术的标签检测设备,其特征在于,所述翻转板表面的中心位置设置有第一磁铁,所述收集箱表面的中心位置设置有第二磁铁。

[展开]
说明书

技术领域

本实用新型涉及检测设备领域,尤其涉及一种基于电子信息技术的标签检测设备。

背景技术

标签是用于标明物品的品名、重量、体积、用途等信息的简要标牌,有传统的印刷标签和现代条码打印标签。

现有技术中所提出的公开号为CN217113286U的专利申请,其通过通过拉动限位块,使弹簧收缩,并且向外拉动限位夹,使转动式圆柱收缩,随后将物体放置在放置固定板上,松开限位块和限位夹,使限位块和限位夹对物体进行固定,从而达到限位的效果,通过物体放置后,按动凸起限位块,将升降杆调节到适当位置,松开凸起限位块,使凸起限位块与限位孔重合,使升降杆固定,随后拆下可拆式外壳,打开检测控制装置,导电滑轮开始在导电式齿轮轨道上滑动,带动固定式连接杆移动,对物品进行扫描检测,从而达到检测控制的效果,但是现在检测装置只对物体上的标签进行扫描检查,而对于大量的物体检测时出现标签扫描不合格时需要人工手动拿取后进行归类,无法在检测不合格或者扫描不上时直接进行自动归类放置的操作。

因此,有必要提供一种基于电子信息技术的标签检测设备解决上述技术问题。

实用新型内容

本实用新型提供一种基于电子信息技术的标签检测设备,解决了现有的装置在对大量的物品标签检测时出现物品无法扫描时需要人工手动拿取并单独放置,无法进行自动放置的操作的问题。

为解决上述技术问题,本实用新型提供的一种基于电子信息技术的标签检测设备,包括:

操作台,所述操作台的表面安装有安装罩,所述安装罩内壁的顶部固定安装有扫描仪主体;

活动组件,所述活动组件设置于所述操作台的表面且位于所述安装罩的内部,所述活动组件包括两个滑杆,两个所述滑杆表面的中心位置均连接有分隔块,所述滑杆的表面且位于所述分隔块的两侧均套设有滑套,所述滑套的表面通过连接块连接有活动板;

推动装置,所述推动装置设置于所述分隔块的一侧;

连通孔,所述连通孔开设于所述操作台的表面,所述操作台的底部且位于所述操作台的下方设置有收集箱。

优选的,所述推动装置包括固定扣,所述固定扣的内部设置有液压伸缩杆,所述固定扣的表面安装有自动控制开关。

优选的,所述扫描仪主体表面的一侧安装有控制器。

优选的,所述操作台的底部且位于所述连通孔的两侧均连接有导板。

优选的,所述安装罩表面的两侧均开设有与所述活动板相适配的活动孔。

优选的,所述收集箱的表面设置有翻转组件,所述翻转组件包括转动件,所述转动件的一侧连接有翻转板。

优选的,所述翻转板表面的中心位置设置有第一磁铁,所述收集箱表面的中心位置设置有第二磁铁。

与相关技术相比较,本实用新型提供的一种基于电子信息技术的标签检测设备具有如下有益效果:

本实用新型提供一种基于电子信息技术的标签检测设备,在操作台的表面设置带动滑套的滑杆配合活动板和带有自动控制开关的液压伸缩杆使用能够在扫描仪主体对物品上的标签无法扫描时能将物品直接输送至收集箱的内部进行后期的处理。

附图说明

图1为本实用新型提供的一种基于电子信息技术的标签检测设备的第一实施例的结构示意图;

图2为图1所示的活动组件的结构示意图;

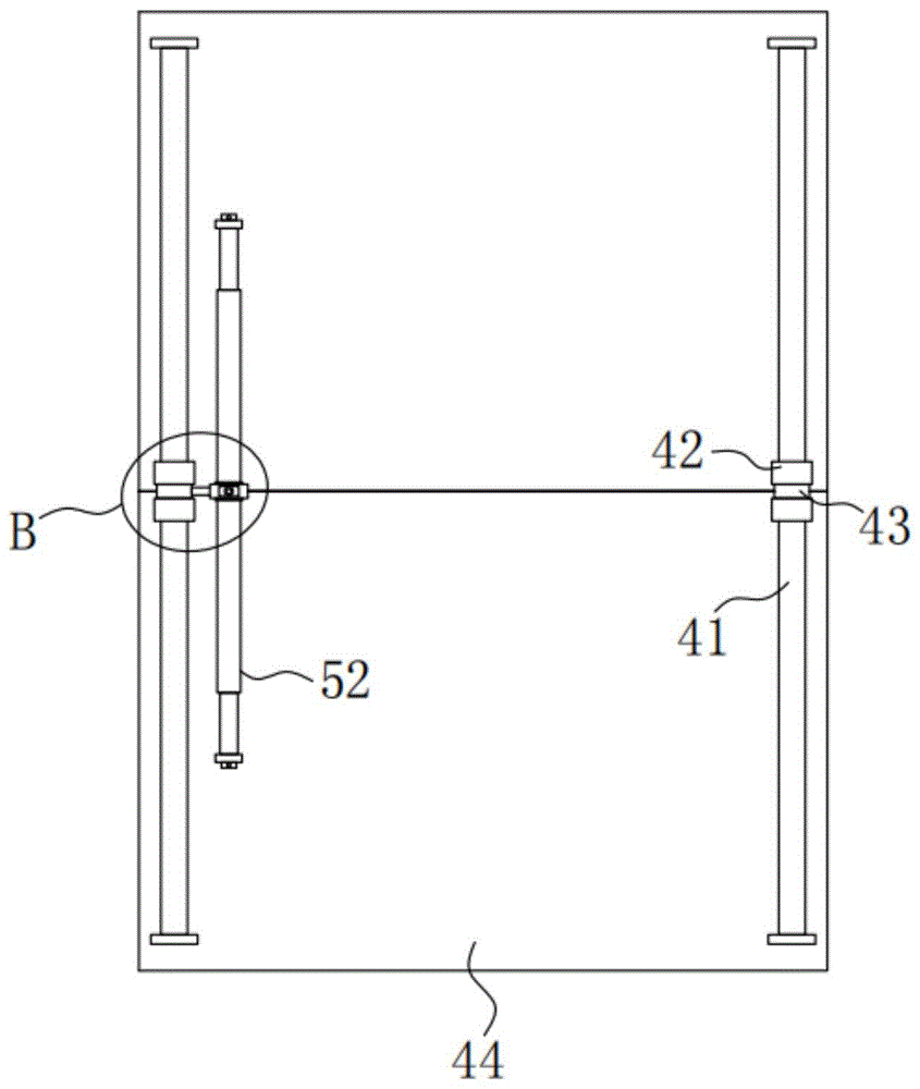
图3为图2所示的B部放大示意图;

图4为图1所示的A部放大示意图;

图5为本实用新型提供的一种基于电子信息技术的标签检测设备的第二实施例的结构示意图。

图中标号:1、操作台,2、安装罩,3、扫描仪主体,4、活动组件,41、滑杆,42、滑套,43、分隔块,44、活动板,5、推动装置,51、固定扣,52、液压伸缩杆,53、自动控制开关,6、连通孔,7、收集箱,8、导板,9、活动孔,10、控制器,11、翻转组件,111、转动件,112、翻转板,113、第一磁铁,114、第二磁铁。

具体实施方式

下面结合附图和实施方式对本实用新型作进一步说明。

第一实施例

请结合参阅图1、图2、图3和图4,其中,图1为本实用新型提供的一种基于电子信息技术的标签检测设备的第一实施例的结构示意图;图2为图1所示的活动组件的结构示意图;图3为图2所示的B部放大示意图;图4为图1所示的A部放大示意图。一种基于电子信息技术的标签检测设备,包括:

操作台1,所述操作台1的表面安装有安装罩2,所述安装罩2内壁的顶部固定安装有扫描仪主体3;

活动组件4,所述活动组件4设置于所述操作台1的表面且位于所述安装罩2的内部,所述活动组件4包括两个滑杆41,两个所述滑杆41表面的中心位置均连接有分隔块43,所述滑杆41的表面且位于所述分隔块43的两侧均套设有滑套42,所述滑套42的表面通过连接块连接有活动板44;

在滑杆41的两端均连接有固定块,固定块的底部与操作台1的表面连接,滑杆41和滑套42的使用能在活动板44移动时起到定位的作用,活动板44的使用不能对物品上的标签检测时起到放置的作用。

推动装置5,所述推动装置5设置于所述分隔块43的一侧;

连通孔6,所述连通孔6开设于所述操作台1的表面,所述操作台1的底部且位于所述操作台1的下方设置有收集箱7。

在收集箱7的底部设置有支撑板,支撑板的两端分别与操作台1底部的两侧连接,在收集箱7底部的两侧均连接有定位块,在支撑板的表面开设有与定位块相适配的定位槽,使用定位块和定位槽能对收集箱7安装起到定位的作用。

所述推动装置5包括固定扣51,所述固定扣51的内部设置有液压伸缩杆52,所述固定扣51的表面安装有自动控制开关53。

固定扣51连接在分隔块43的一侧,液压伸缩杆52为双头液压杆,能够同时带动两个活动板44进行移动,自动控制开关53和控制器10的使用能扫描仪主体3对物品扫描时出现扫描时间长和扫描不上时可以控制液压伸缩杆52将活动板44打开,使物品掉落至收集箱7的内部。

所述扫描仪主体3表面的一侧安装有控制器10。

所述操作台1的底部且位于所述连通孔6的两侧均连接有导板8。

导板8的使用便于在物品掉落时起到导向的作用,活动孔9的开设便于活动板44和液压伸缩杆52的活动。

所述安装罩2表面的两侧均开设有与所述活动板44相适配的活动孔9。

本实用新型提供的一种基于电子信息技术的标签检测设备的工作原理如下:

使用时,当出现物品扫描不出来上,通过自动控制开关53启动液压伸缩杆52推动两个活动板44向两侧移动,当活动板44移动时带动底部的滑套42在滑杆41的表面进行移动,当活动板44移动至两侧后物品通过安装罩2内壁两侧的凸块推动至收集箱7的内部即可。

与相关技术相比较,本实用新型提供的一种基于电子信息技术的标签检测设备具有如下有益效果:

本实用新型提供一种基于电子信息技术的标签检测设备,在操作台1的表面设置带动滑套42的滑杆41配合活动板44和带有自动控制开关53的液压伸缩杆52使用能够在扫描仪主体3对物品上的标签无法扫描时能将物品直接输送至收集箱7的内部进行后期的处理。

第二实施例

请结合参阅图5,基于本申请的第一实施例提供的一种基于电子信息技术的标签检测设备,本申请的第二实施例提出另一种基于电子信息技术的标签检测设备。第二实施例仅仅是第一实施例优选的方式,第二实施例的实施对第一实施例的单独实施不会造成影响。

具体的,本申请的第二实施例提供的一种基于电子信息技术的标签检测设备的不同之处在于,一种基于电子信息技术的标签检测设备,所述收集箱7的表面设置有翻转组件11,所述翻转组件11包括转动件111,所述转动件111的一侧连接有翻转板112。

所述翻转板112表面的中心位置设置有第一磁铁113,所述收集箱7表面的中心位置设置有第二磁铁114。

第一磁铁113和第二磁铁114为异性相吸的原理实现,在收集箱7的表面开设有与翻转板112相适配的通槽。

本实用新型提供的一种基于电子信息技术的标签检测设备的工作原理如下:

使用时,当对收集箱7内部物品进行拿取时,在转动件111的作用下向上翻转翻转板112,当翻转板112表面的第一磁铁113与收集箱7表面的第二磁铁114接触后即可对收集箱7内部的物品进行拿取。

与相关技术相比较,本实用新型提供的一种基于电子信息技术的标签检测设备具有如下有益效果:

本实用新型提供一种基于电子信息技术的标签检测设备,在收集箱7的表现设置转动件111配合翻转板112使用时便于操作者人员对无法扫描的物品从收集箱7的内部取出。

以上所述仅为本实用新型的实施例,并非因此限制本实用新型的专利范围,凡是利用本实用新型说明书及附图内容所作的等效结构或等效流程变换,或直接或间接运用在其它相关的技术领域,均同理包括在本实用新型的专利保护范围内。

[展开]
附图
--
 
图1
图1
 
图2
图2
 
图3
图3
 
图4
图4
 
图5
图5
三、联系方式
联系人 尹老师 联系电话 029-81121637
手机号 邮箱


陕ICP备2024036731号 子长市中小企业公共服务平台 版权所有©