当前位置: 首页 >数字化交易

ZL202122475786.0 一种具有防水减震功能的加固计算机机箱

名称 一种具有防水减震功能的加固计算机机箱 编号 ZL202122475786.0
挂牌价 面议 发布方 陕西融盛知识产权平台有限公司
挂牌公告期 2024-03-09 00:00:00 - 2024-04-07 23:59:59
一、详细介绍

技术信息登记表

技术名称 ZL202122475786.0 一种具有防水减震功能的加固计算机机箱
行业分类 软件著作权
战略性新兴产业分类 新一代信息技术产业
应用于行业
二、附件资料
著录项
申请号CN202122475786.0
 
公开号CN216210814U
 
申请(专利权)人陕西能源职业技术学院
 
主分类号G06F1/18
 
地址712000 陕西省咸阳市文林路中段陕西能源职业技术学院
 
代理机构西安研创天下知识产权代理事务所(普通合伙)
申请日2021-10-14
 
公开日2022-04-05
 
发明人王艳
 
分类号G06F1/18; F16F15/067; B01D53/26
 
国省代码CN61
 
代理人杨凤娟
摘要
本实用新型公开了一种具有防水减震功能的加固计算机机箱,包括底座,所述底座的上侧壁安装有机箱,所述底座的上侧壁开设有与机箱相匹配的安装槽,所述机箱的上侧壁固定连接有连接板,所述连接板的上侧壁固定连接有梯形块,所述连接板的上侧壁开设有与梯形块相连接的导水槽,所述机箱的下侧壁固定连接有固定板,所述固定板的下侧壁与安装槽的上侧壁均滑动设有两个滑块。本实用新型通过弹簧一、弹簧二和弹簧三的配合,能够减缓机箱的震动,提高了对机箱的保护作用,提高了装置的安全性,同时利用导水槽,可对机箱进行防水保护,提高了机箱的防水性。
权利要求书

1.一种具有防水减震功能的加固计算机机箱,包括底座(1),其特征在于,所述底座(1)的上侧壁安装有机箱(2),所述底座(1)的上侧壁开设有与机箱(2)相匹配的安装槽,所述机箱(2)的上侧壁固定连接有连接板(3),所述连接板(3)的上侧壁固定连接有梯形块(4),所述连接板(3)的上侧壁开设有与梯形块(4)相连接的导水槽(5),所述机箱(2)的下侧壁固定连接有固定板(6),所述固定板(6)的下侧壁与安装槽的上侧壁均滑动设有两个滑块(7),分别位于固定板(6)和安装槽上的两个所述滑块(7)之间共同转动连接有支撑杆(8),两个所述支撑杆(8)呈相互交叉设置,两个所述支撑杆(8)的中部通过转轴(10)连接,其中一个所述支撑杆(8)的两侧侧壁与另一个支撑杆(8)之间分别共同固定连接有弹簧一(9)和弹簧二(11)。

2.根据权利要求1所述的一种具有防水减震功能的加固计算机机箱,其特征在于,所述机箱(2)内设有干燥箱(18),所述干燥箱(18)内设有干燥剂。

3.根据权利要求1所述的一种具有防水减震功能的加固计算机机箱,其特征在于,所述安装槽的内壁均滑动插设有两个插杆(12),每个所述插杆(12)位于底座(1)内的一端均滑动插设有与底座(1)内壁固定连接的固定杆(14),位于同侧的两个所述插杆(12)位于底座(1)内的一端外壁共同固定连接有连接杆(15),每个所述连接杆(15)与底座(1)的内壁之间共同固定连接有弹簧三(16)。

4.根据权利要求1所述的一种具有防水减震功能的加固计算机机箱,其特征在于,所述底座(1)的下侧壁固定连接有多个吸盘(20)。

5.根据权利要求2所述的一种具有防水减震功能的加固计算机机箱,其特征在于,所述干燥箱(18)的下侧壁对称固定连接有两个固定条(19),所述机箱(2)内固定连接有安装板(17),所述安装板(17)的上侧壁开设有与固定条(19)相匹配的两个滑槽,所述干燥箱(18)位于机箱(2)外的一端外避固定连接有拉手(21)。

6.根据权利要求3所述的一种具有防水减震功能的加固计算机机箱,其特征在于,每个所述插杆(12)位于安装槽内的一端均安装有与机箱(2)外避相抵的滑轮(13)。

[展开]
说明书

技术领域

本实用新型涉及计算机技术领域,尤其涉及一种具有防水减震功能的加固计算机机箱。

背景技术

计算机通称电脑,它由硬件系统和软件系统所组成。计算机被用作各种工业和消费设备的控制系统,包括简单的特定用途设备、工业设备及通用设备等。随着社会的进步,计算机的普及,人们在日常工作、学习、家庭娱乐都已经越来越离不开计算机,机箱作为电脑配件中的一部分,它起的主要作用是放置和固定各电脑配件,起到一个承托和保护作用。

现有的加固计算机机箱,不便于对机箱下部进行稳固减震支撑处理,而且机箱不具有防水性,从而影响使用的安全性。

实用新型内容

本实用新型的目的是为了解决背景技术中的问题,而提出的一种具有防水减震功能的加固计算机机箱。

为了实现上述目的,本实用新型采用了如下技术方案:

一种具有防水减震功能的加固计算机机箱,包括底座,所述底座的上侧壁安装有机箱,所述底座的上侧壁开设有与机箱相匹配的安装槽,所述机箱的上侧壁固定连接有连接板,所述连接板的上侧壁固定连接有梯形块,所述连接板的上侧壁开设有与梯形块相连接的导水槽,所述机箱的下侧壁固定连接有固定板,所述固定板的下侧壁与安装槽的上侧壁均滑动设有两个滑块,分别位于固定板和安装槽上的两个所述滑块之间共同转动连接有支撑杆,两个所述支撑杆呈相互交叉设置,两个所述支撑杆的中部通过转轴连接,其中一个所述支撑杆的两侧侧壁与另一个支撑杆之间分别共同固定连接有弹簧一和弹簧二。

优选地,所述机箱内设有干燥箱,所述干燥箱内设有干燥剂。

优选地,所述安装槽的内壁均滑动插设有两个插杆,每个所述插杆位于底座内的一端均滑动插设有与底座内壁固定连接的固定杆,位于同侧的两个所述插杆位于底座内的一端外壁共同固定连接有连接杆,每个所述连接杆与底座的内壁之间共同固定连接有弹簧三。

优选地,所述底座的下侧壁固定连接有多个吸盘。

优选地,所述干燥箱的下侧壁对称固定连接有两个固定条,所述机箱内固定连接有安装板,所述安装板的上侧壁开设有与固定条相匹配的两个滑槽,所述干燥箱位于机箱外的一端外避固定连接有拉手。

优选地,每个所述插杆位于安装槽内的一端均安装有与机箱外避相抵的滑轮。

与现有的技术相比,本一种具有防水减震功能的加固计算机机箱的优点在于:

1、设置弹簧一、弹簧二和弹簧三,当机箱受到震动晃动时,会挤压滑轮推动插杆内移,在弹簧三的反向弹力下可以减缓了机箱的晃动,当机箱受到震动上下颠簸时,压缩两个支撑杆绕着转轴做剪刀式运动,于是在弹簧一和弹簧二的反作用下,减缓了机箱的上下颠簸,进一步的提高了对机箱的保护作用,提高了装置的安全性;

2、设置梯形块和连接板,当机箱的上端遇水时,水可沿着梯形块倾斜的侧壁,流入至导水槽内直至流至装置外,从而对机箱进行保护,提高了机箱的防水性;

综上所述,本实用新型通过弹簧一、弹簧二和弹簧三的配合,能够减缓机箱的震动,提高了对机箱的保护作用,提高了装置的安全性,同时利用导水槽,可对机箱进行防水保护,提高了机箱的防水性。

附图说明

图1为本实用新型提出的一种具有防水减震功能的加固计算机机箱的结构示意图;

图2为本实用新型提出的一种具有防水减震功能的加固计算机机箱中机箱的结构示意图。

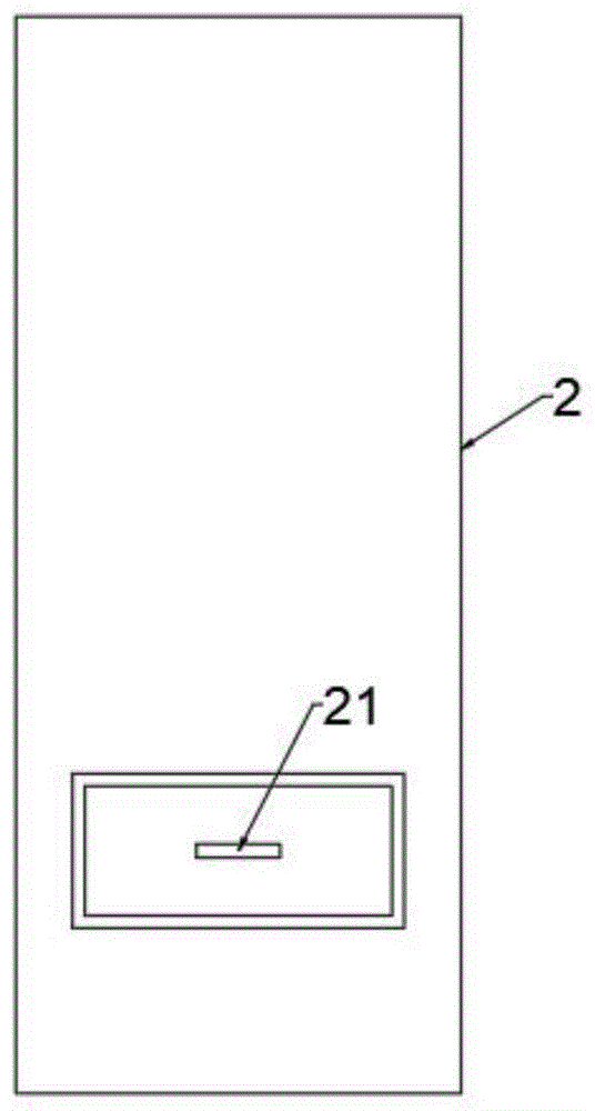
图中:1底座、2机箱、3连接板、4梯形块、5导水槽、6固定板、7滑块、8支撑杆、9弹簧一、10转轴、11弹簧二、12插杆、 13滑轮、14固定杆、15连接杆、16弹簧三、17安装板、18干燥箱、 19固定条、20吸盘、21拉手。

具体实施方式

下面将结合本实用新型实施例中的附图,对本实用新型实施例中的技术方案进行清楚、完整地描述,显然,所描述的实施例仅仅是本实用新型一部分实施例,而不是全部的实施例。

在本实用新型的描述中,需要理解的是,术语“上”、“下”、“前”、“后”、“左”、“右”、“顶”、“底”、“内”、“外”等指示的方位或位置关系为基于附图所示的方位或位置关系,仅是为了便于描述本实用新型和简化描述,而不是指示或暗示所指的装置或元件必须具有特定的方位、以特定的方位构造和操作,因此不能理解为对本实用新型的限制。

参照图1-2,一种具有防水减震功能的加固计算机机箱,包括底座1,安装槽底座1的下侧壁固定连接有多个吸盘20,利用多个吸盘20挤压时产生的负压,实现对底座1的固定,从而提高了装置的稳固性。

安装槽底座1的上侧壁安装有机箱2,安装槽机箱2内设有干燥箱18,安装槽干燥箱18内设有干燥剂,安装槽干燥箱18的下侧壁对称固定连接有两个固定条19,安装槽机箱2内固定连接有安装板17,安装槽安装板17的上侧壁开设有与固定条19相匹配的两个滑槽,安装槽干燥箱18位于机箱2外的一端外避固定连接有拉手 21,干燥剂能够吸收机箱2内的水分,保证了机箱2内空气的干燥,同时可拉动拉手21并配合固定条19在滑槽内的滑动,实现干燥箱 18的拆卸方便了干燥箱18内的干燥剂的更换。

安装槽底座1的上侧壁开设有与机箱2相匹配的安装槽,安装槽安装槽的内壁均滑动插设有两个插杆12,每个安装槽插杆12位于安装槽内的一端均安装有与机箱2外避相抵的滑轮13,滑轮13 的设置方便了机箱2震动时的上下移动。

每个安装槽插杆12位于底座1内的一端均滑动插设有与底座1 内壁固定连接的固定杆14,位于同侧的两个安装槽插杆12位于底座1内的一端外壁共同固定连接有连接杆15,每个安装槽连接杆15 与底座1的内壁之间共同固定连接有弹簧三16,当机箱2受到震动晃动时,会挤压滑轮13推动插杆12内移,然后使得弹簧三16压缩发生弹性形变,同时在弹簧三16的反向弹力下,抑制了插杆12的内壁,从而减缓了机箱2的晃动,对机箱2起到了一定的保护作用。

安装槽机箱2的上侧壁固定连接有连接板3,安装槽连接板3 的上侧壁固定连接有梯形块4,安装槽连接板3的上侧壁开设有与梯形块4相连接的导水槽5,当机箱2的上端遇水时,水可沿着梯形块4倾斜的侧壁,流入至导水槽5内直至流至装置外,从而对机箱2进行保护,提高了机箱2的防水性。

安装槽机箱2的下侧壁固定连接有固定板6,安装槽固定板6 的下侧壁与安装槽的上侧壁均滑动设有两个滑块7,分别位于固定板6和安装槽上的两个安装槽滑块7之间共同转动连接有支撑杆8,两个安装槽支撑杆8呈相互交叉设置,两个安装槽支撑杆8的中部通过转轴10连接,其中一个安装槽支撑杆8的两侧侧壁与另一个支撑杆8之间分别共同固定连接有弹簧一9和弹簧二11,当机箱2受到震动上下颠簸时,配合多个滑块7分别在固定板6下侧壁和安装槽上侧壁上的滑动,压缩两个支撑杆8绕着转轴10做剪刀式运动,对弹簧一9和弹簧二11分别拉伸和压缩,于是在弹簧一9和弹簧二 11的反作用下,抑制两个支撑杆8做剪刀式运动,即减缓了机箱2 的上下颠簸,进一步的提高了对机箱2的保护作用,提高了装置的安全性。

进一步说明,上述固定连接,除非另有明确的规定和限定,否则应做广义理解,例如,可以是焊接,也可以是胶合,或者一体成型设置等本领域技术人员熟知的惯用手段。

以上所述,仅为本实用新型较佳的具体实施方式,但本实用新型的保护范围并不局限于此,任何熟悉本技术领域的技术人员在本实用新型揭露的技术范围内,根据本实用新型的技术方案及其实用新型构思加以等同替换或改变,都应涵盖在本实用新型的保护范围之内。

[展开]
附图
--
 
图1
图1
 
图2
三、联系方式
联系人 尹老师 联系电话 029-81121637
手机号 邮箱


陕ICP备2024036731号 子长市中小企业公共服务平台 版权所有©